Erweiterte Suche
Home
/
Gerätekatalog Nadelton
/
Mehrtourenspieler
/
Einbaulaufwerke
/
W 22
/ W22 (S24)
Top Bilder
Neue Bilder
Registrierte Benutzer
Benutzername:
Passwort:
Beim nächsten Besuch automatisch anmelden?
»
Password vergessen
»
Registrierung
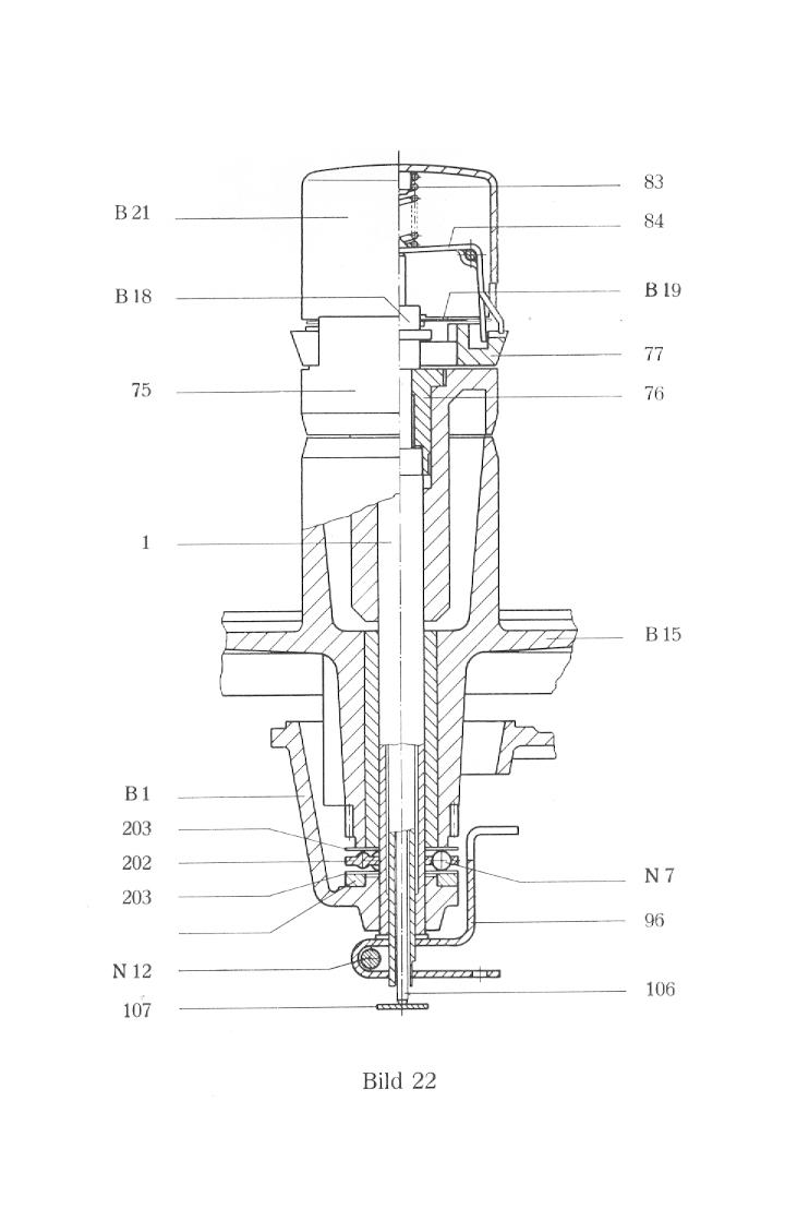
W22 (S24)
Vorheriges Bild:
W22 (S23)
Nächstes Bild:
W22 (S25)
W22 (S24)
Beschreibung:
Schlüsselwörter:
W22
,
Ziphona
,
Plattenwechsler
Datum:
26.10.2012 01:34
Hits:
1161
Downloads:
0
Bewertung:
0.00 (0 Stimme(n))
Dateigröße:
61.4 KB
Hinzugefügt von:
19null5
Autor:
Kommentar:
Es wurden noch keine Kommentare abgegeben.
Powered by
4images
1.10
Copyright © 2002-2026
4homepages.de
Layout & Design: Copyright © 2009
IG-FTF