|
|
 |
 |
MTG 19, SB
| MTG 19, SB |
| Beschreibung: |
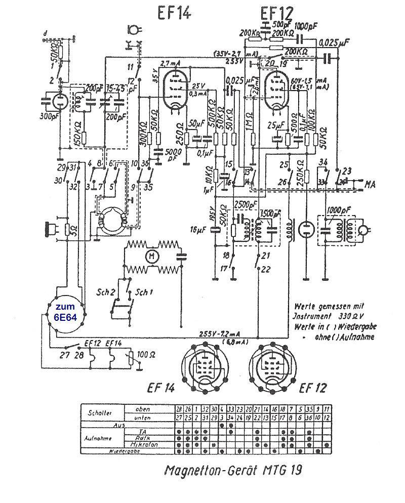
Schaltbild des Magnettongerätes MTG 19 in Großansicht. Klar zu erkennen: Das Gerät ist nicht mit einem Löschkopf ausgestattet, obwohl ein HF-Generator für die VM natürlich vorhanden ist. Über den links unten gezeichneten Stahlröhrensockel wird das MTG direkt in die entsprechende Fassung auf dem Chassis des Empfängers eingestöpselt. Damit sind alle Verbindungen hergestellt um das MTG betreiben zu können denn dieses Modell verfügt noch nicht über ein eigenes Netzteil. Deswegen gibt es auch keine solitären MTG 19 sondern nur jene, die in den 6E64 integriert worden sind.
Es ist mir nicht bekannt, ob auch in andere Schränke MTG 19 eingesetzt worden sind.
|
| Schlüsselwörter: |
MTG 19, MTG19, Stern-Radio Staßfurt, SRS |
| Datum: |
16.07.2006 22:34 |
| Hits: |
12528 |
| Downloads: |
0 |
| Bewertung: |
0.00 (0 Stimme(n)) |
| Dateigröße: |
146.9 KB |
| Hinzugefügt von: |
MGW51 |
|
|
 |