|
|
 |
 |
6E64, Überschichts-SB
| 6E64, Überschichts-SB |
| Beschreibung: |
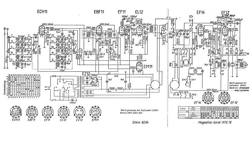
Gesamtschaltbild des Schrankes aus dem die Bezeichnung für das Bandgerät klar hervorgeht. Es ist zu erkennen, daß das Rundfunkchassis extra auf das MTG abgestimmt konstruiert wurde um ein zusätzliches Netzteil zu umgehen und zudem eine sehr einfache Montage zu ermöglichen.
|
| Schlüsselwörter: |
6E64, 6 E 64, Stern-Radio Staßfurt |
| Datum: |
16.07.2006 22:44 |
| Hits: |
2659 |
| Downloads: |
0 |
| Bewertung: |
0.00 (0 Stimme(n)) |
| Dateigröße: |
96.5 KB |
| Hinzugefügt von: |
MGW51 |
|
|
 |